產品中心
一、概 述
本裝置適用于0.38kV~110kv中性點不接地或經消弧線圈接地以及中性點經電阻接地的電力系統。并且無論金屬性接地、還是電阻性接地均能****的選出接地線路號,而不受出線形式(架空線和電纜線)的限制。
二、主要特點和技術指標
1 特點:
1.1 裝置采用“多重選線判據來構成綜合判據”,采用信息融合技術,利用各種判據選線。采用連續選線技術,充分利用整個接地過程中的有效數據,提高選線結果的可靠性與****性。
1.2 硬件設計采用****推出“高性能 32 位ARM 處理器”,高速的處理與運算能力為裝置復雜的算法提供有力的支持。使裝置功能分配更加合理,響應速度更快,運行更加穩定。
1.3 具有輔助決策功能,在故障狀態中,可進行輔助決策信息的查詢。裝置可顯示出故障母線3U0和故障母線所屬出線零序電流****的三條線路的基波(存在消弧線圈為5次諧波)的有效值、相位信息,可幫助現場人員分析故障數據,做出接地線路的判斷。
1.4 漢字化輸出信息可通過“液晶屏顯示21筆故障數據信息”(掉電不丟失),并且每筆“故障信息都可通過裝置配備的打印機打印輸出”。
1.5 人機界面及運行維護,采用漢字菜單選項操作,使現場參數設置調試更為快捷,方便了用戶。
1.6 能對檢測到的各種“故障信息進行語音輸出”,進一步體現了人性化設計。
1.7 帶有獨立的硬件時鐘,掉電后裝置的時鐘信息不丟失。
1.8 本裝置可選配“消諧功能”,可節省用戶成本。
1.9 投運后,本機基本上不需要維護。
1.10 適用范圍廣,長短線不限、并聯運行的出線數不限。
1.11 可區分線路接地和母線接地
2 技術指標
2.1 電壓等級:1~4個。
2.2 母線段數:1~4段。
2.3 出線配置:小于等于36路。
2.4 報警輸出:所有繼電器接點容量250VAC,8A。
2.5 裝置通訊:配置“RS485通訊接口”,配置標準的“ModBus@RTU或CDT通訊協議”,可以訪問裝置的測量數據和報警信息等實時數據;并可通過通訊接口整定裝置,改變裝置的運行狀態。
2.6 工作電源: AC110~250V或DC110~250V
頻 率: 50~60Hz
2.7 環境溫度:-10~+40℃(特殊要求可做到-40~+85℃)。
2.8 環境濕度:不大于90%RH。
三、工作原理
當被測系統發生單相接地且零序電壓(3U0)達到整定值(可通過相應的菜單選項進行整定,系統默認是20V)時,裝置啟動選線程序,并將所有被測線路的零序電流和母線零序電壓同時采集進來,然后進行數字濾波以消除干擾,因為故障線路的零序電流為非故障線路零序電流之和。所以,理論上故障線路的零序電流采樣值應為****。但由于CT誤差、信號干擾及線路長短差別懸殊等原因,故障線路的零序電流采樣值在排序時可能不在第一位,但不會超出前三個。因此在第一步排序時采用“相對幅值”原理取前三個****的。然后利用“相對相位”概念,即各電流之間的方向或電流與電壓之間超前與滯后關系進一步確定前三個之中哪一個為故障線路,或者是母線故障。
同時采用連續選線技術,充分利用整個接地過程中的有效數據,提高選線結果的可靠性與****性。
四、使用說明
1 裝置面板
裝置的顯示器、按鍵、打印機和揚聲器的分布如下圖:

2 按鍵說明
2.1 “FN鍵”在菜單操作時,用作“退出鍵”;在輸入設定數值時,用作“移動光標鍵”,以指示需要修改數值的位置。
2.2 “UP鍵”在菜單操作時,向上移動光標,選擇需要查看或設定的項目;在輸入設定數值時,用作“加一鍵”。
2.3 “DOWN鍵”在菜單操作時,向下移動光標,選擇需要查看或設定的項目;在輸入設定數值時,用作“減一鍵”。
2.4 “ENT鍵”是“確認鍵”用于確認所選項目或所設定的參數。
3 菜單操作
裝置上電后,實時顯示各段母線的相關諧波分量的有效值,如圖2所示。

在第1屏下,按“FN”鍵或“ENT”鍵將進入圖3所示頁面。

反白文字表示光標所在位置。在第2屏下,按“UP鍵”或“DOWN鍵”移動光標,按“FN鍵”退回上一級菜單,按“ENT鍵”進入所選擇的下一級菜單。由于“系統參數整定”內容較多,稍后進行詳細敘述,F在選擇“事件記錄查看”并按“ENT鍵”進入事件記錄查看頁面,如圖4所示。

在第3屏下,按“UP鍵”或“DOWN鍵”可依次查看所有21重事件記錄,按“FN”鍵返回上一級菜單。
在第2屏下選擇“事件記錄清空”,按“ENT鍵”進入圖5所示頁面。

在第4屏下,按“FN鍵”移動光標,選擇是否清空記錄,按“ENT鍵”確認當前的操作,并返回上一級菜單。
在第2屏下選擇“事件記錄打印”,按“ENT鍵”進入圖6所示頁面。

在第5屏下,按“FN鍵”選擇要修改的打印起始位置的數值的個位或十位,按“UP鍵”或“DOWN鍵”修改數值,按“ENT鍵”確認當前的修改,并開始“打印記錄條數”的設置,修改“打印記錄條數”的方法和修改“打印起始位置”的方法相同。設定完“打印記錄條數”后,按“ENT鍵”,進入圖7所示頁面。

在第6屏下,按“FN鍵”選擇是否打印,按“ENT鍵”對選擇進行確認,并返回上一級菜單。
在第2屏下選擇“系統狀態查看”并按“ENT鍵”將進入圖8所示頁面。

在第7屏下,可以查看系統時鐘和通訊狀態,當本裝置和上位機有通訊時,裝置將顯示網絡標識。否則將隱去。在此狀態下按“FN鍵”返回上一級菜單。
在第2屏下,選擇“接地狀態詳細”并按“ENT鍵”將進入圖9所示頁面。

第8屏示例顯示了第6號出線接地時的接地狀態,其中零序電流****的三條出線分別是3、6、9,只有第6號出線的3I0(基波)和2段母線的3U0(基波)的夾角約270°,其余兩條的3I0(基波)和2段母線的3U0(基波)的夾角都約為90°。因此可以判斷是第6號出線發生了接地事故。假如在這種情況下2段母線有消弧線圈存在則顯示3UO和3I0的5次諧波之間的相位關系。
通過這個顯示頁面,用戶可以對系統的事故狀態有個清晰地了解,進一步提高對事故類型的判別能力。
在第8屏下,按“FN鍵”返回上一級菜單。
在第2屏下,選擇“語音輸出控制”,并按“ENT鍵”將進入圖10所示頁面。

在第9屏下,按“UP鍵”或“DOWN鍵”選擇在事故狀態下語音輸出的允許或禁止。按“ENT鍵”進入圖11所示頁面。

在第10屏下,按“FN鍵”選擇是否保存修改,按“ENT鍵”確認當前選擇,并返回上一級菜單。
下面敘述系統參數整定。
在第2屏下選擇“系統參數整定”并按“ENT鍵”可進入系統參數整定保護密碼輸入頁面,如圖12.

在第11屏下,輸入保護密碼0001后,按“ENT鍵”進入裝置整定選項菜單,如圖13所示。

在第12屏下,按“UP鍵”或“DOWN鍵”把光標移動到“接地啟動電壓”后按“ENT鍵”進入到圖14所示頁面。

◆ 在第13屏下,按“FN鍵”移動光標”,選擇要修改的數值位置(首先是“1段母線3U0”的數值) 按“UP鍵”或“DOWN鍵”修改該數值。
◆ 按“ENT鍵”確認“1段母線3U0”的修改,此時開始修改“2段母線3U0”的數值,方法和修改“1段母線3U0”的方法相同。
按“ENT鍵”確認“2段母線3U0”的修改,此時開始修改“3段母線3U0”的數值,方法和修改“2段母線3U0”的方法相同。
◆ 按“ENT鍵”確認“3段母線3U0”的修改,此時開始修改“4段母線3U0”的數值,方法和修改“3段母線3U0”的方法相同。
◆ 按“ENT鍵”此時出現第10屏所示頁面。在第10屏下,按“FN鍵”選擇是否保存修改,按“ENT鍵”確認當前選擇,并返回圖13所示頁面。
在第12屏下的其它“裝置整定”項目的設置方法和“接地啟動電壓”的設置方法類似,只是所設置的項目多少不一樣,為了表述的更加清晰,把裝置整定各項制成表格。
通訊設置:

表1 通訊設置一覽表
接地啟動3U0:

表2 各段母線啟動選線3U0一覽表
注意:啟動選線3U0的設置要根據系統實際情況合理設置,否則會影響選線效果。
出線配置設置:

表3 各段母線的出線數配置一覽表
注意:1~4段母線、出線數總和小于等于36條。
諧振判據

表4 諧振判據設置一覽表
消弧線圈設置

表5 各段母線消弧線圈配置一覽表
零序電流互感器變比設置

表6 零序電流互感器變比一覽表
注意:零序電流互感器的變比可在(0~250):1之間,根據系統實際情況設置。

表7 繼電器動作延時設置
五、裝置接線及端子分布
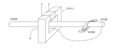
1. 零序電流互感器的安裝
大多數電纜出線的用戶采用零序電流互感器CT獲得零序電流,安裝互感器應確保零序電流信號不被短路,參閱圖15。圖中絕緣板上的固定螺栓應保證卡子(即電纜外皮)與地絕緣。母線側電纜外殼的接地線應穿過零序CT再接地。

圖 15
2. 三相 CT接成零序過濾器
•對已安裝三相CT的用戶,獲取零序電流,可以將它們接成零序電流過濾器方式,由于本機電流輸入回路具有極低的輸入阻抗(不大于0.1Ω),因而,不影響用戶在零序電流過濾器回路串接其它電流測量元件。
•對只有A、C兩相CT的用戶必須安裝B相CT,并要求其精度變比等特性均與A、C相相同,才能接成零序過濾器使用本機。
3. 同名端(極性)要求
• 本機對零序電壓信號接入,要求與電流互感器輸入同名端一致。
• 本機對零序電流互感器的同名端(亦稱極性)要求****一致接入機器。參閱下圖16。
• 三相CT接成零序電流過濾器同名端亦要求一致接入本機。參閱圖17。
• 對既有零序CT,又有三相過濾器的系統,也要求同名端****一致接入本機。


4. 裝置端子分布圖:

5. 裝置報警輸出
母線事故對應的繼電器輸出:

表8 繼電器J1~J4的定義
說明:母線事故包括“母線接地、3U0越限、母線諧振”
線路報警繼電器輸出二進制編碼(BIN)表:

表9 繼電器J5~J10的定義
說明:用戶根據需要可選配“二進制編碼報警輸出”或“一對一報警輸出”
總報警和失電報警:

表10 繼電器J11~J12的定義
說明:總報警的含義是:只要裝置檢測到任何事故就報警輸出。
六、裝置開孔、外形尺寸(4U機箱)
◆ 外型尺寸(mm): 440×177×320( 寬×高×深)
◆ 開孔尺寸(mm): 445×180 (寬×高)

七、選型說明:
本裝置除“標配通訊功能外”,還可增加以下功能:
◆ 打印功能:用“D”表示;
◆ 語言報警:用“Y”表示;
◆ 消諧功能:用“X”表示。
八、選型示例:
例如: 一段母線、12條出線,加打印功能,可寫為:
HH-MA9100H-12CD-1M
又如: 兩段母線、28條出線,加消諧功能、語言報警功能,可寫為: HH-MA9100H-28CXY-2M
又如: 四段母線、36條出線,加消諧功能、語音報警、打印功能,可寫為: HH-MA9100H-36CXYD-4M
九、訂貨須知
◆ 請告知“母線段數、選線回路數”
◆ 請告知是否需要加“打印功能”
◆ 請告知是否需要加“消諧功能”
◆ 請告知是否需要加“語言報警功能”
◆ 請告知是選配“二進制編碼報警輸出”還是 “一對一報警輸出”